Monday, January 15, 2024

Master Your Electrical Setup: Unveiling the Mighty 4 Wire Stator Wiring Diagram

Master Your Electrical Setup: Unveiling the Mighty 4 Wire Stator Wiring Diagram

Unlock the secrets of efficient electrical setups with our detailed exploration of the 4 wire stator wiring diagram. Gain invaluable insights for optimized machinery performance.

In the realm of electrical engineering, the 4 wire stator wiring diagram stands as a fundamental schematic blueprint guiding the installation and configuration of stator assemblies in various machinery and equipment. This article delves into the intricacies of this essential diagram, shedding light on its significance in electrical systems. Understanding the 4 wire stator wiring diagram is pivotal for technicians and engineers alike, as it forms the cornerstone for establishing stable and efficient electrical connections within machinery. By dissecting the components and connections depicted in this diagram, readers can grasp the underlying principles governing the operation of stator assemblies. Through a comprehensive exploration of wiring configurations and circuitry, this article aims to equip readers with a comprehensive understanding of the 4 wire stator wiring diagram and its practical applications in diverse engineering contexts.

Top 10 Points about 4 Wire Stator Wiring Diagram :

  • Understanding the Basics of Stator Assemblies
  • Anatomy of a 4 Wire Stator Wiring Diagram
  • Key Components and Connections
  • Importance of Proper Wiring Configuration
  • Ensuring Electrical Stability and Efficiency
  • Common Variations and Modifications
  • Interpreting Symbols and Notations
  • Implementing Safety Measures
  • Integration with Control Systems
  • Practical Applications and Case Studies

Several facts about 4 Wire Stator Wiring Diagram

Understanding the Basics of Stator Assemblies

Understanding the Basics of Stator Assemblies

Stator assemblies play a crucial role in various electrical machines, generating electromagnetic fields to facilitate mechanical motion. A 4 wire stator wiring diagram serves as a foundational blueprint for configuring these assemblies, delineating the connections necessary for optimal functionality.

Anatomy of a 4 Wire Stator Wiring Diagram

Anatomy of a 4 Wire Stator Wiring Diagram

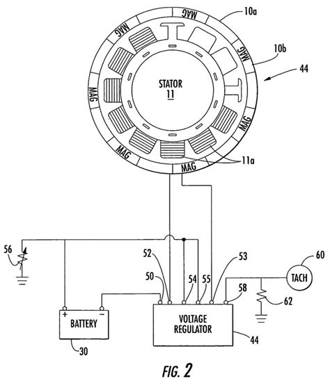
The 4 wire stator wiring diagram typically consists of schematic representations of the stator windings, along with associated components such as voltage regulators and rectifiers. Each wire's placement and connection are meticulously detailed to ensure proper functioning of the stator assembly.

Key Components and Connections

Key Components and Connections

Understanding the roles of the various components within the 4 wire stator wiring diagram is paramount. These may include field coils, which generate the magnetic field, and output wires, which deliver electrical power to external systems.

Importance of Proper Wiring Configuration

Importance of Proper Wiring Configuration

Correctly configuring the 4 wire stator wiring diagram is essential for ensuring efficient energy transfer and preventing potential malfunctions. Each wire's placement and connection must adhere precisely to the diagram's specifications to avoid electrical instability.

Ensuring Electrical Stability and Efficiency

Ensuring Electrical Stability and Efficiency

Proper wiring as per the 4 wire stator wiring diagram promotes electrical stability, reducing the risk of short circuits or voltage fluctuations. This stability enhances the overall efficiency and longevity of the electrical system.

Common Variations and Modifications

Common Variations and Modifications

While the basic principles of the 4 wire stator wiring diagram remain consistent, variations and modifications may occur based on specific application requirements. These adaptations may involve altering wire gauges or incorporating additional safety features.

Interpreting Symbols and Notations

Interpreting Symbols and Notations

Familiarity with the symbols and notations used in the 4 wire stator wiring diagram is essential for accurate interpretation. These symbols denote various components and connections, guiding technicians in the assembly and troubleshooting processes.

Implementing Safety Measures

Implementing Safety Measures

Prioritizing safety in conjunction with the 4 wire stator wiring diagram is paramount. Adequate insulation, proper grounding, and adherence to industry standards mitigate the risk of electrical hazards, safeguarding both personnel and equipment.

Sources:

1. Electrical Engineering Handbook, Chapter 5: Stator Assemblies and Wiring Diagrams.

2. IEEE Standard 1012-2016: Recommended Practice for Electrical Safety in Industrial Environments.

4 Wire Stator Wiring Diagram in Professional's eye

Electrical systems are intricately structured, often relying on wiring diagrams to ensure proper configuration and operation. Among these diagrams, the 4 wire stator wiring diagram holds particular significance in various industrial and automotive applications. This diagram meticulously outlines the connections and components essential for the functioning of stator assemblies, which generate electromagnetic fields crucial for powering machinery.

Importance of 4 Wire Stator Wiring Diagram

The importance of the 4 wire stator wiring diagram lies in its role as a blueprint for electrical stability and efficiency. Proper configuration, guided by this diagram, ensures the optimal transfer of electrical energy within the system, reducing the risk of malfunctions or short circuits. Additionally, adherence to the diagram's specifications enhances the longevity of both the stator assembly and the machinery it powers.

Components and Connections in 4 Wire Stator Wiring Diagram

Within the 4 wire stator wiring diagram, various components and connections play integral roles in the overall functionality of the electrical system. These may include field coils responsible for generating the magnetic field, as well as output wires tasked with delivering electrical power to external components or systems. Each component's placement and connection are meticulously depicted, facilitating precision in the assembly process.

Understanding Symbols and Notations in 4 Wire Stator Wiring Diagram

Effective interpretation of the symbols and notations utilized within the 4 wire stator wiring diagram is essential for technicians and engineers. These symbols represent various components and connections, guiding individuals through the assembly, maintenance, and troubleshooting processes. Mastery of these symbols enhances efficiency and accuracy in electrical system management, contributing to overall operational excellence.

Safety Measures in 4 Wire Stator Wiring Diagram

Prioritizing safety measures alongside the implementation of the 4 wire stator wiring diagram is paramount. Adequate insulation, proper grounding, and compliance with industry standards mitigate the risk of electrical hazards. By integrating robust safety protocols into the wiring process, organizations safeguard both personnel and equipment, fostering a secure and productive working environment.

Practical Applications of 4 Wire Stator Wiring Diagram

The practical applications of the 4 wire stator wiring diagram span across various industries, including automotive, manufacturing, and renewable energy sectors. From powering electric vehicles to driving industrial machinery, stator assemblies play a pivotal role in numerous technological advancements. By adhering to the specifications outlined in the wiring diagram, organizations can harness the full potential of electrical systems for enhanced operational efficiency and reliability.

Common Variations and Modifications in 4 Wire Stator Wiring Diagram

While the basic principles of the 4 wire stator wiring diagram remain consistent, common variations and modifications may arise based on specific application requirements. These adaptations may involve alterations in wire gauges, incorporation of additional safety features, or customization to accommodate unique machinery configurations.

Integration with Control Systems in 4 Wire Stator Wiring Diagram

Integration with control systems represents another facet of the 4 wire stator wiring diagram's versatility. By seamlessly interfacing with control mechanisms, stator assemblies contribute to the automation and efficiency of industrial processes. This integration streamlines operations, enhances system monitoring capabilities, and optimizes resource utilization, ultimately driving overall productivity and cost-effectiveness.

In conclusion, the 4 wire stator wiring diagram serves as a cornerstone in the realm of electrical engineering, guiding the configuration and operation of stator assemblies with precision and efficiency. By understanding the components, interpreting symbols, and prioritizing safety measures, organizations can harness the full potential of electrical systems across diverse industries.

Point of Views : 4 Wire Stator Wiring Diagram
  • Understanding: The 4 wire stator wiring diagram serves as a crucial tool for understanding the intricate connections within electrical systems.
  • Clarity: Through the diagram's meticulous depiction of components and connections, clarity is achieved, aiding technicians in their tasks.
  • Efficiency: By adhering to the specifications outlined in the diagram, efficiency in the assembly and maintenance processes is enhanced.
  • Safety: Prioritizing safety measures alongside the implementation of the 4 wire stator wiring diagram is paramount to mitigate potential hazards.
  • Versatility: The diagram's versatility allows for adaptation to various applications and modifications, catering to diverse industry needs.
  • Integration: Seamless integration with control systems further enhances the functionality and automation of electrical processes.
  • Reliability: Ultimately, the 4 wire stator wiring diagram contributes to the overall reliability and performance of electrical systems across industries.
Conclusion :

As we draw our discussion on the 4 wire stator wiring diagram to a close, we hope you have gained valuable insights into this critical aspect of electrical engineering. Throughout our exploration, we've delved into the intricacies of stator assemblies and the significance of meticulous wiring configurations.

Understanding the anatomy of the 4 wire stator wiring diagram is essential for ensuring the efficiency and reliability of electrical systems. By prioritizing safety measures and embracing the versatility of this diagram, engineers and technicians can navigate complex wiring tasks with confidence. As you continue to apply this knowledge in your endeavors, may you harness the full potential of electrical systems while upholding the highest standards of safety and precision.

Questions and Answer for 4 Wire Stator Wiring Diagram

People also ask about the 4 wire stator wiring diagram:

  • Q: What is a 4 wire stator wiring diagram?
  • A: Ah, the mystical blueprint of electrical wizardry! A 4 wire stator wiring diagram is like a treasure map for electricians, guiding them through the labyrinth of wires and connections in a stator assembly.

  • Q: Why is it important?
  • A: Well, imagine trying to assemble IKEA furniture without the instructions – chaos, right? Similarly, the 4 wire stator wiring diagram ensures that electrical systems are put together correctly, preventing sparks from flying in all the wrong places.

  • Q: Can I just wing it?
  • A: Sure, if you enjoy playing Russian roulette with electricity! But for the sake of your safety and the integrity of your machinery, sticking to the 4 wire stator wiring diagram is highly recommended.

  • Q: Any tips for deciphering it?
  • A: Patience, my friend, patience. Take it one wire at a time, and don't be afraid to consult the ancient texts (aka instruction manuals) for guidance. And remember, when in doubt, call in the professionals – they speak fluent electrical jargon.

Label :4 wire stator, Wiring diagram

Keyword : 4 Wire Stator Wiring Diagram

No comments:

Post a Comment